
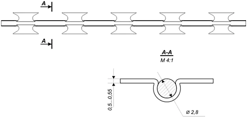
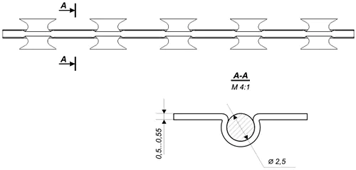
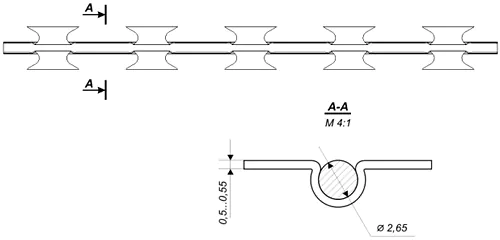
Колючий дріт або стрічка колюча армована Єгоза підрозділяється на три види, залежно від діаметру армуючого дроту. Виготовляється з оцинкованих матеріалів, дроту канатного EN 50189 діаметром 2,5-2,8 мм і рулонної сталі EN 10346 товщиною 0,5-0,55 мм за нормативною документацією ТУ У 25.9-21804553-001:2020.
Колючий дріт Єгоза застосовується для влаштування огорожі на стовпах в одну лінію в кілька рядів і практично замінив традиційний колючий дріт. Дріт колючий Єгоза служить більш тривалий час з набагато більшою ефективністю, ніж звичайний колючий дріт. У виробництві дроту Єгоза застосовується тільки високовуглецевий оцинкований дріт перетином від 2,5 до 2,8 мм. Чим більше діаметр дроту, тим надійніше огорожа. Перекушування дроту підручними засобами ускладнено через застосування дроту з високовуглецевої сталі. Різальні леза дроту Єгоза https://caiman.ua/products/razor-wire ще більш агресивні, ніж у колючого дроту Концертина, та незрівнянні з дротяними колючками традиційного колючого дроту.
Леза колючої стрічки Єгоза довші, ніж у Концертина, тому доцільніше застосовувати оцинковану рулонну сталь більшої товщини. При зачепленні лез за одяг правопорушника, вони не повинні згинатися, тому використання колючої стрічки товщиною 0,5-0,55 мм вирішує поставлене завдання. Гарантія на дріт Єгоза 15 років, а реальний термін служби може досягати більше 30 років. Колюча стрічка армована Єгоза використовується також для виробництва спіральних і плоских загороджень.
Про види загороджень колюче-ріжучих спіральних Єгоза.


