
Razor wire or RBT Egoza-Super (reinforced barbed tape) is the most effective engineering tool for creating enhanced protection for the perimeter and objects. By creating a barrier for the intruder, there is practically no other, better option for a reinforced protection barrier, given the minimum cost.
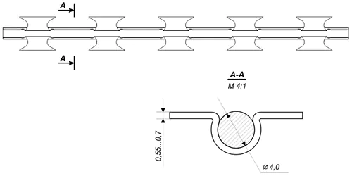
Manufactured from rope galvanized wire EN 50189 with a diameter of 3.8-4 mm and coiled steel EN 10346 with a thickness of 0.55-0.7 mm. Egoza-Super is produced in strict compliance with the requirements of TU U 25.9-21804553-001:2020. It is used both for creating fences on poles in one line and several rows, and for the production of barriers of the Egoza-Super concertina wire type. Egoza Super razor wire is incomparable in terms of effectiveness and strength of the protective fence created on its basis with Concertina wire, Egoza razor wire, and even more so with ordinary barbed wire.
Fencing Egoza-Super with high-carbon galvanized wire with a diameter of 4 mm is a very serious obstacle for the intruder. The warranty period of Egoza-Super razor wire is 20 years, but in reality, Egoza-Super barbed wire can protect objects for more than 35 years. Egoza-Super concertina wire and flat security barriers are made from Egoza-Super razor wire.
The use of Egoza-Super is advisable mainly for creating concertina wire barriers, the advantage of which is the speed of installation, simplicity and low cost of installing barbed wire, as an alternative to some types of fences. To create linear barriers in several rows, standard Egoza razor wire is usually used.
